数控机床的进给系统要获得较高的传动刚度,除了加强滚珠丝杠副本身的刚度外,滚珠丝杠的正确安装及支承结构的刚度也是非常重要的因素。如为减少受力后的变形,螺母座应有加强筋,并且要连接可靠。另外,采用高刚度的推力角接触球轴承并合理配置可提高滚珠丝杠的轴向承载能力。
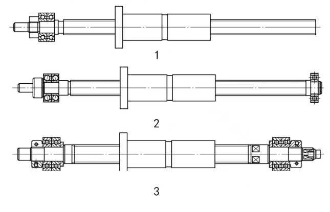
滚珠丝杠有以下几种支承方式,如下图所示。
一、图1所示为仅一端安装角接触球轴承的方式。这种安装方式的承载能力小,轴向刚度低。一般用于进给轴较短或垂直坐标进给传动结构。
1. 结构特点:
固定端采用一对角接触球轴承或圆锥滚子轴承,能承受较大的轴向力和径向力。
自由端则没有支撑轴承,丝杠可以在轴向和径向有一定的游动。
2. 适用场景:
适用于行程小、转速低的场合。
由于自由端的丝杠可以自由伸缩,所以在一些对精度要求不高的短行程设备中较为常见。

二、图2所示为一端安装角接触球轴承,另一端安装深沟球轴承的方式。此种方式用于丝杠较长的情况,当热变形造成丝杠伸长时,其一端固定,另一端能作微量的轴向浮动。
1. 结构特点:
固定端与“一端固定,一端自由”的方式类似,采用能承受轴向力和径向力的轴承。
游动端采用一个深沟球轴承,只承受径向力,允许丝杠在轴向有一定的游动。
2. 适用场景:
适用于中等行程、转速适中的场合。
这种支承方式可以在一定程度上补偿丝杠的热伸长,减少热变形对精度的影响。
三、图3所示为两端安装角接触球轴承的方式。这样做有助于提高刚度,但对热变形较为敏感。所以这种安装方式要对丝杠进行预拉伸安装。
1. 结构特点:
两端均采用一对角接触球轴承或圆锥滚子轴承,通过预紧可以提高丝杠的轴向刚度和定位精度。
2. 适用场景:
适用于长行程、高转速、高精度的场合。
两端固定可以有效地限制丝杠的轴向窜动,保证传动精度,但对安装精度要求较高,且需要考虑丝杠的热伸长问题。